изготовление запчастей для экскаваторов ЭКГ,
ЭШ, дробилок, бурового оборудования
тел./факс:
+7(343)287-17-96
e-mail:
tms@captaing.ru
Главная
Продукция
Запчасти для экскаваторов
Трубы
Запчасти для дробилок и мельниц
Запчасти к буровому оборудованию
Разработка и внедрение mySAP ERP
Электрооборудование
Резервуары и ёмкости
ТКУ транспортабельная котельная установка
Опоры ЛЭП, мачты, в том числе нестандартные сварные
Мобильные быстро возводимые здания. Вагон-дома
Производство
О компании
Объявления
Проекты
Контакты
Оправить заявку
Главная
>
Каталог продукции
>
Запчасти для экскаваторов
>
Карьерные ЭКГ
>
Запчасти к ЭКГ-8и
Запчасти для экскаваторов
Карьерные ЭКГ
Запчасти к ЭКГ-5А
Запчасти к ЭКГ-8и
Запчасти к ЭКГ-10
Карьерный экскаватор ЭКГ-5
Карьерный экскаватор ЭКГ-10
Технические характеристики
Шагающие ЭШ
Технические характеристики
ЭШ-10/70
ЭШ-15/90
ЭШ-20/90
ЭШ-6/45
Трубы
Труба б/у
Труба восстановленная
Труба лежалая
Труба новая
Запчасти для дробилок и мельниц
Конусные дробилки КСД-2200 КМД-2200 КСД-1750 КМД-1750
Запчасти конусных дробилок КСД-2200 КМД-2200 КСД-1750 КМД-1750
КМД
КСД
Мельницы барабанные стержневые
Cтержневая мельница МСЦ/МСП/МСР
Запасные части
Шаровая мельница
Запасные части
Шаровая мельница МШР
Щековые дробилки
СМД
Запчасти к буровому оборудованию
Буровые насосы
Вертлюги
Запчасти к буровому оборудованию
Крюкоблоки
Роторы
Разработка и внедрение mySAP ERP
Электрооборудование
Электрооборудование ЭКГ-5А
Резервуары и ёмкости
ТКУ транспортабельная котельная установка
Опоры ЛЭП, мачты, в том числе нестандартные сварные
Опоры, столбы ЛЭП 6-10 кВ, 35 кВ, 110 кВ
Мобильные быстро возводимые здания. Вагон-дома
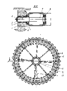
Роликовый круг ЭКГ-8 3519.07.00.000
Характеристики
№ чертежа
3519.07.00.000 сб
Примечание
3519.07.00.000 сб
← Назад в раздел
Оставьте заявку
Тема сообщения
*
Сообщение
*
Ваше имя
*
Ваш телефон
Ваш email
*